根据美国商标和专利局(USPTO)公示的清单,Apple公司获得了一项Vision Pro头显的技术专利,可以联动多台头显,从而构建卓越的联机体验。
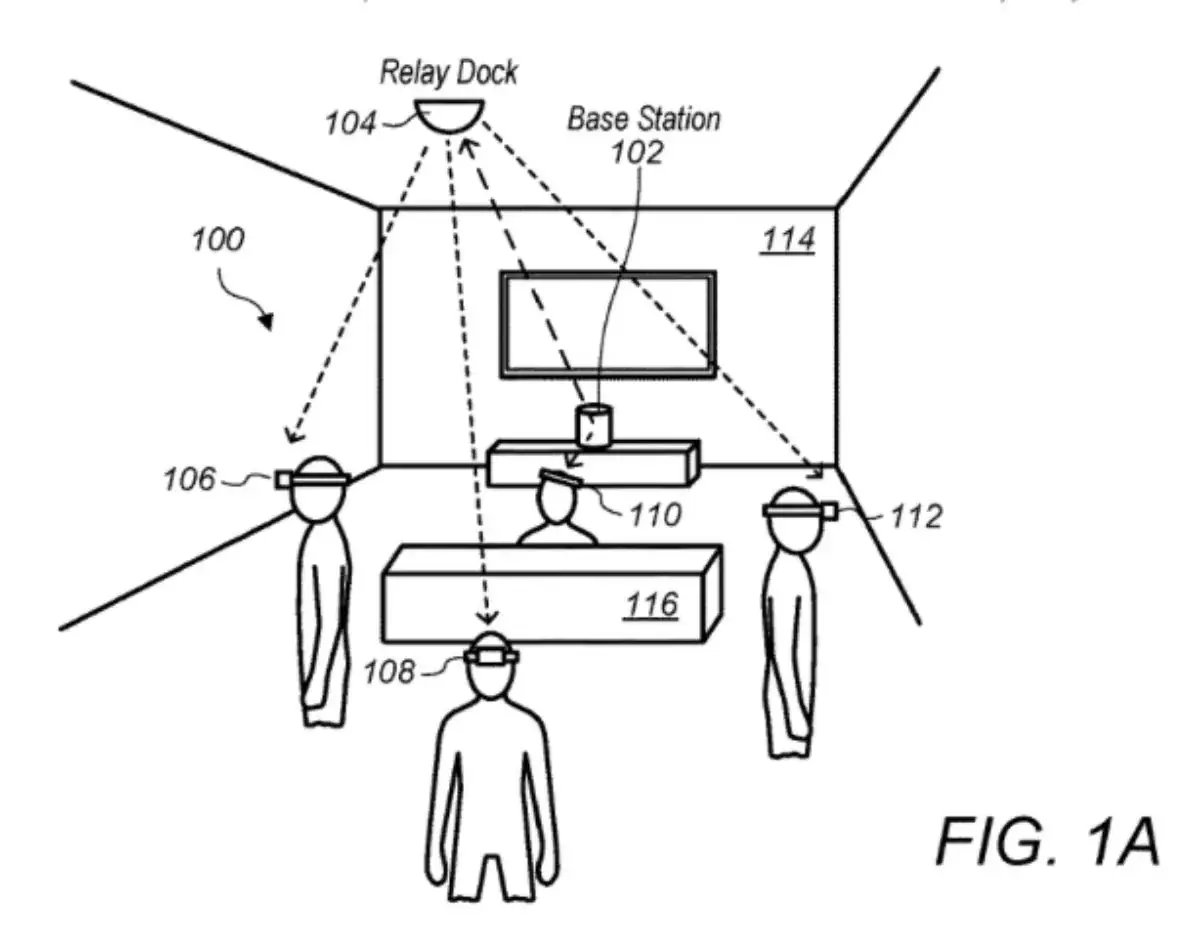
这项技术专利名称为《基于位置信息定向波形成的中继坞站和基站》,专利设计草图如下,可以看到每台 Vision Pro头显配备天线阵列,可以发送和接收定向波信号,和中继坞站和基站进行通信。

天线阵列和内置传感器可以追踪Vision Pro头显的位置和动作,让佩戴者在虚拟现实和增强现实环境中相互交互,在游戏场景下避免互相撞击的情况下,可以实现联机体验。

以下是Apple公司的专利摘要,无线通信系统包括一个基站和一个或多个继电器对接,并使用高频波(如毫米波)在组件之间传输定向波信号。
波束形成决策引擎利用从用户设备的一个或多个位置或运动传感器收集的位置信息来确定形成在无线通信系统组件之间传输的定向波信号的方向。
